The HZ12-16/04 is a two-position (0-OFF, 1-ON) power isolating switch that meets industrial safety standards. Its core design highlight is its dual-position padlock function: whether in the safe "OFF" position (0) or the "ON" position (1) ensuring continuous equipment operation, the padlock can be used to lock the switch, effectively preventing unauthorized operation or accidental changes in status. It is an ideal component for implementing strict LOTO (Safety Operating Procedures). In addition, the product comes standard with a protective cover at the inlet, providing additional protection against electric shock. The emergency stop model features a prominent yellow panel and red knob for emergency stop indication, conforming to ergonomics and safety regulations.
1. Main Technical Parameters
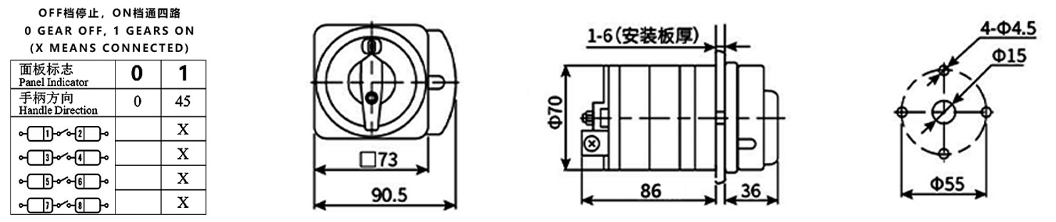
Conventional Free Air Heating Current (Ith): 16A
Contact Configuration and Function:
Position "0" (OFF, Lockable): All contacts 1-2, 3-4, 5-6, 7-8 are fully disconnected, providing visible electrical isolation.
Position "1" (ON, Lockable): All four sets of contacts are closed.
Safety Features:
Dual Padlock Points: Padlock holes are provided at both positions 0 and 1 (lockers supplied separately), supporting flexible security locking strategies.
Inlet Protective Cover: Protects the terminals and prevents accidental contact.
Structure, Installation, and Environment:
Structure and Materials: Features a flame-retardant, high-temperature resistant, and environmentally friendly shell. Internally, it uses thickened copper conductors and silver alloy contacts to ensure electrical performance.
Wiring Capacity: M4 wiring screws, suitable for wires 1.0 – 2.5 mm², tightening torque 1.2 N·m.
Operating Conditions:
Ambient Temperature: -25°C to +40°C (24h average ≤ +35°C)
Altitude: ≤ 2000 m
Relative Humidity: ≤ 50% at +40°C; higher humidity is permissible at lower temperatures (e.g., up to 90% at +25°C).
2. Application Scenarios
This switch is designed for industrial applications with stringent requirements for operational safety, access control, and equipment status protection, and is especially suitable for equipment requiring mandatory locking mechanisms.
Core Applications: Power Isolation and Locking for High-Safety Equipment
Industrial Machine Tools and Production Lines: Serves as the main power isolation switch for CNC machine tools, machining centers, stamping equipment, and assembly lines. Locking it in position "0" ensures safety during maintenance; locking it in position "1" during production prevents unauthorized personnel from accidentally stopping the machine, ensuring production continuity.
Critical Processes and Experimental Equipment: Used in chemical, pharmaceutical, and laboratory settings where unauthorized power outages are not permitted. Locking it in position "1" ensures continuous power supply to critical processes or experiments.
Emergency Stop Function Applications:
Emergency Stop Switch: Features a yellow panel and red knob. Installed in a prominent location on the equipment's control panel, it allows for rapid power disconnection in emergencies.
General Safety Power Distribution: Serves as a manual operation and safety locking switch for critical load circuits in distribution boxes and control cabinets where clear safety management regulations are required.
English
русский
Español
Deutsch














