The HZ12-25/04 is a 25A rated current, two-position (0-OFF, 1-ON) industrial-grade power disconnect switch. It features a unique padlock function for both "OFF" and "ON" positions, ensuring operational safety and management. It locks into a safe isolation state during equipment maintenance and into the working state during operation to prevent unauthorized operation, aligning with strict LOTO (Safety Operating Procedures) and access control. The switch comes standard with an inlet protective cover and an emergency stop model (yellow panel, red knob) is available, making it an ideal manual power control and safety component for high-risk or critical process equipment.
1. Main Technical Parameters
Electrical Parameters:
Conventional Free Air Heating Current (Ith): 25A
Contact Configuration and Function:
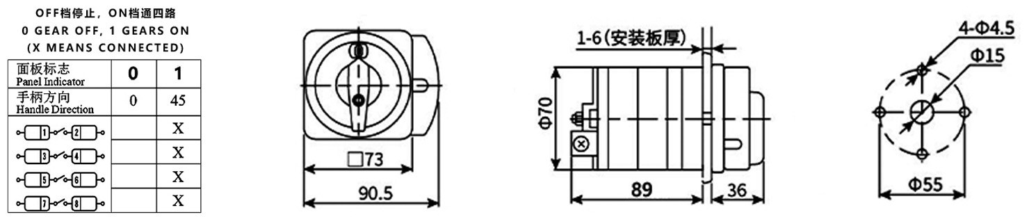
Position "0" (OFF): All four main contacts 1-2, 3-4, 5-6, and 7-8 are fully open.
Position "1" (ON): All four contacts are reliably closed.
Structural Characteristics: Employs a two-section (two-layer) contact structure, with four sets of contacts operating in parallel to enhance current carrying capacity and reliability.
Safety and Protection Features:
Double Padlock Mechanism: Standard padlock holes (locks supplied separately) are provided in both the "0" and "1" positions, enabling forced locking during operation.
Inlet Protective Cover: Standard transparent or insulated protective cover effectively prevents accidental contact with live terminals.
Emergency Stop Model Identification: Optional models use a yellow panel and a red mushroom-shaped knob as a visual indicator for emergency stop, conforming to IEC 60204-1 safety standards.
Wiring and Installation:
Wiring Specifications: Terminal screws M5, recommended wire cross-section 1.5-4.0 mm², tightening torque 2.0 N·m.
Environmental Conditions:
Operating Temperature: -25°C to +40°C (24h average ≤ +35°C)
Altitude: ≤ 2000 m
Relative Humidity: ≤ 50% at +40°C; up to 90% at lower temperatures (e.g., +25°C).
Materials and Processes:
The housing is made of flame-retardant, high-temperature resistant, and environmentally friendly materials.
The internal conductors are thickened copper, and the contacts are made of silver alloy, ensuring low contact resistance, conductivity, resistance to arc oxidation, and a long service life.
2. Application Scenarios
This switch is suitable for industrial power and control circuits with high requirements for current capacity, operational safety, and status management.
Main Power Supply and Safety Locking Point for Medium-Power Equipment: Serves as the main power isolating switch for 25A-class equipment such as CNC machine tools, laser cutting machines, medium-sized injection molding machines, and testing benches. Its dual-locking function allows: locking to position "0" during maintenance; locking to position "1" during production operation to prevent accidental power outages leading to production interruptions or data loss.
Critical processes and safety-sensitive areas: Power control for chemical production lines, large laboratory instruments, and data server cabinets. Locking in position "1" ensures uninterrupted critical processes and prevents unauthorized shutdowns.
English
русский
Español
Deutsch














