The SZD11-63/400010-B is a manual load disconnect switch integrating four-pole isolation and external operation functions, with a rated current of 63A. Its core design is suitable for three-phase four-wire (3P+N) electrical systems. The switch is base-mounted and operates safely from outside the control cabinet via a long-lever mechanism, integrating a mandatory door-switch mechanical interlock. This interlock mechanism ensures that the cabinet door can only be opened when the switch handle is in the "OFF" position (all poles, including the neutral pole N, are disconnected); conversely, if the cabinet door is open, the switch cannot be closed, physically eliminating the risk of live contact and making it a key component meeting the highest level of electrical safety standards.
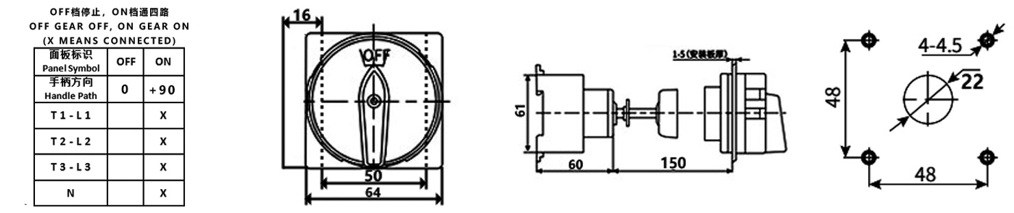
Function: Two-position (ON/OFF) operation. In the "ON" position, the three-phase main contacts (T1-L1, T2-L2, T3-L3) and the neutral pole (N) are reliably connected; in the "OFF" position, all poles (including the N pole) are completely disconnected, providing comprehensive electrical isolation. This location also provides a padlock point (locker supplied separately), supporting additional security locking (LOTO).
Door Interlock Mechanism: A mandatory mechanical interlock, the core guarantee for achieving the "open door, power off; power off door, open door" safety logic.
Installation Method: The switch body base is installed inside the cabinet and connected to the operating handle outside the cabinet door via a rigid long rod, enabling external operation. This design ensures the protection of the switch body, facilitates operation, and eliminates the need for large holes in the panel.
Electrical Specifications:
Rated Operating Current: 63A
Rated Operating Voltage: AC 440V, 50Hz
Number of Poles: 4 poles (3P+N)
Compliance Standards: GB/T 14048.3, IEC 60947-3
Performance Characteristics: Large insulation distance, fast breaking speed, ensuring operational safety and reliability.
Wiring and Lifespan:
Terminals: M4 screws, recommended wire cross-sectional area 6.0–10 mm², tightening torque 1.2 N·m.
Electrical life: AC-23 (distribution load) ≥ 10,000 cycles; AC-3 (motor load) ≥ 6,000 cycles.
Operating frequency: Rated duty 8-hour cycle/intermittent cycle ≤ 30 cycles/hour.
Operating conditions: Ambient temperature -25°C to +40°C, altitude ≤ 2000m, adaptable to normal industrial environmental humidity.
Application scenarios: This switch is specifically designed for industrial and commercial three-phase four-wire power distribution and control circuits with strict requirements for operational safety, maintenance compliance, and system integrity (neutral line disconnection).
High safety standard power distribution circuits: Suitable for data centers, communication equipment rooms, medical facilities, laboratories, and commercial/industrial distribution boxes using TN-S or TN-C-S grounding systems. As the main disconnecting switch for branch circuits or equipment, its four-pole isolation function is crucial.
Control cabinets with mandatory safety interlocks: Used as main power switches on frequently maintained equipment such as production line control cabinets, large HVAC unit control boxes, and pump control centers, their door interlock function is a mandatory configuration to ensure the safety of maintenance personnel.
Situations requiring safe operation from outside the cabinet: Provides a safe and convenient operating solution for 63A-class three-phase four-wire loads (such as fan units, pump units, and medium-sized compressors) installed in enclosed cabinets and requiring external power switching.
Key compliance point: A landmark product meeting stringent domestic and international electrical safety standards (such as prevention of misoperation and mandatory isolation of the neutral line), widely used in engineering projects requiring compliance certification.
English
русский
Español
Deutsch













